
We did a lot of creative engineering during the decades of our Legacy. Only a small portion of the ingenious ideas made it through the internal patent process. Many were just put aside because the company 'Patent Board' didn't see a near term commercial value. And many departmental managers and project managers were somewhat loath to charge project funds or overhead funds to develope the patent application paper work.
Without a patented device by Bill Davis, SHINPADS would never have worked and we couldn't have performed on the multi-million dollar Canadian Patrol Frigate program.
Bill [with the blonde beard] explains the passive connection device to Marc Shoquist and Ralph Kerler. [photo from Marc Shoquist]
I am listed as an inventor or co-inventor on nine US patents. The
patent numbers and the titles are listed below.
The two with the smallest
numbers are probably from before 1975. The US Dept. of Commerce Patent
and Trademark Office issued a Secrecy Order on one of the patents listed
below when it was in the application process. I mention it mainly as
a point of interest for your information as not many people are aware
of the them. It probably isn't appropriate to include such info with
the history anyway. {Editor's note: As illustrated on the right,
many patent certificates were displayed on the walls of UNISYS,
Roseville.}
I worked for Univac/Unisys from June 1956 to March 1989, when there was a voluntary retirement offer. I worked mostly on the 1100 series (latter models were called the 2200 series) starting with the Univac Scientific Model 1103A. They were all for the commercial market although many were used for nation defense and security purposes. Starting in 1967, I worked as a logic designer at Roseville. Names of some people that probably have patents and aren't members of the VIP Club are listed below:
Thank you for your work in compiling this history. Archie E. Lahti
![]()
From the government web site, Lee's first name is Mauritz! A surprise
to many of us who thought that we knew him.
Below is a listing copied from the U.S. Patent Office's web site.
PAT. NO. Title
Radiation hardened sense amplifier for thin film memory applications,
assigned to the U.S. Air Force per the contract for whom the work
was done.
Inventors:
Gary L Grundy,
David C Steiner, Gerard C Gutzmann, and
Ralph G Krueger.
Abstract: May 17, 1969.
An apparatus for a radiation hardened sense
amplifier for operation in a radiation environment having a
plurality of amplifier stages of the Darlington pair type utilizing
transformer coupling. The first stage includes a common mode choke
to provide a photo-current cancelling function while the Darlington
pair in each amplifier stage provides a gain stabilization function.
Submitted in honor of Gary Grundy by Gary Stanull
Information submitted by Brian Daly, Unisys and Gish Devlaminck, VIP Club. Chuck was the father of the logical expansion circuitry for display systems,
or "Graphical Computer Video Card" and the flashing or "Blinking Cursor",
http://vipclubmn.org/deceased.html#Kiesling.
Still decades away from personal computers — let alone portable ones — Kiesling was joining the ranks
of engineers tinkering with room-sized computers like the IBM 650 or the aging ENIAC. He joined Sperry
Rand, now Unisys, in 1955, and helped develop the kind of computer guts that casual users rarely think
about. This includes innards like logic circuitry, which enable your computer to make complex non-binary
decisions like “or,” “and,” or “if only” instead of simply “yes” or “no”. One of these seemingly innocuous
advancements was a 1967 patent filing Kiesling made for a blinking cursor.
According to a post on a computer science message board from a user
identified as Kiesling’s son,
the inspiration for this invention was simply utility.
“I remember him telling me the reason behind the blinking cursor, and it was simple,” Kiesling’s son
writes. “He said there was nothing on the screen to let you know where the cursor was in the first place.
So he wrote up the code for it so he would know where he was ready to type on the Cathode Ray Tube.”
The blinking, it turns out, is simply a way to catch the coders’ attention and stand apart from a sea of text. More of the story by Sarah Wells,
https://www.inverse.com/innovation/blinking-cursor-history.
{Editor's note: the article has a plethora of interspersed
advertisements, keep reading past the Military Inventions header.}
[LAB, 1/10/22]
![]()

Jerry Williams served in the US Navy from December 1944 to July 1946.
Then he started college at St. Olaf while working part-time at WCAL, the local radio station. In the fall of '48 he transferred to the
Institute of Technology at the University of Minnesota. Jerry graduated in December 1950 with an Electrical Engineering degree.
His first job was with Zenith in Chicago. After 8 months there, a friend informed him that ERA in St. Paul was looking for engineers - viola!
Back in Minnesota in August 1951.
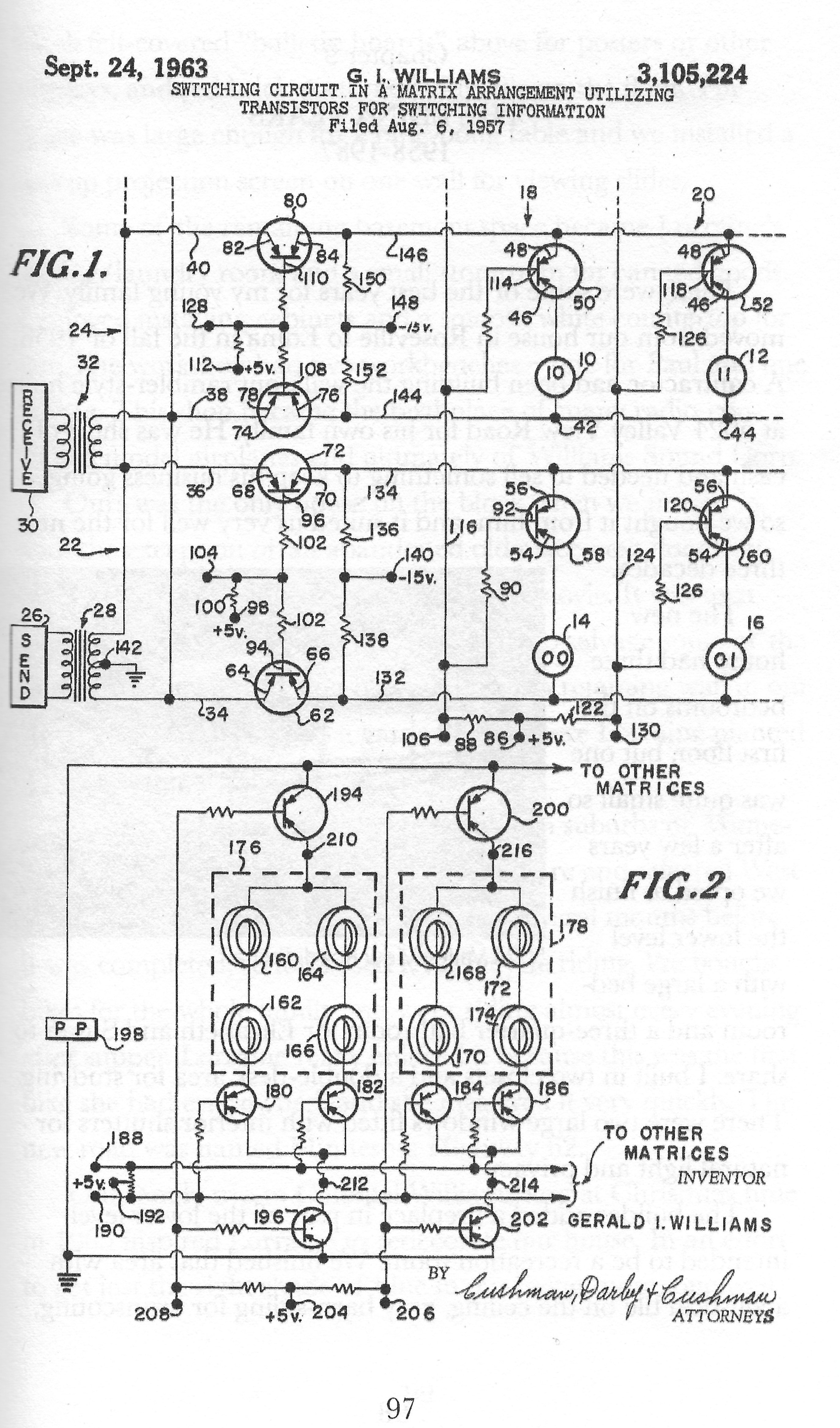
His life story is a summary of his autobiography,
SatisfyingInventions.pdf (vipclubmn.org). From his book, a core
memory addressing patent is copied here. I, Lowell, met Jerry
at an Original Geek Squad luncheon, see item 3 of
Interviews, Chapter 22 (vipclubmn.org).
The company has had an on-going cost savings program. Engineers,
Technicians, Clerks, Secretaries, Assemblers, Inspectors, etc were encouraged
to identify ways of making their jobs easier and more efficient. These
were recognized by awards and by the customers as the savings were passed
on to them with lower costs for subsequent products.
An example is illustrated
at the left that appeared in a DCASR journal the year after it was
implemented for Sperry printed circuit cards.
During the printed circuit card layout and 'tape up', pin 1 of any integrated socket or test point was made with a square instead of the round blivot of all other mounting holes. This simplified 'eyeball' checks of routing circuitry and simplified trouble shooting when probing with a multi-meter or oscilloscope tip.
I got a pat on the back for this idea, drafting was quite willing to help implement and document the idea in a submittal. As I recall, Bob Langer helped set up, test, and implement the idea. I have often wondered if other companies tried this after seeing it in the DCASR booklet. This cost savings idea was submitted by Lowell A. Benson, scan of article from and by Lowell. BTW, the Printed circuit card shown in the example was a 56-pin card of the type used in the AN/UYK-15, the 1616, 3760, and AN/UYK-20. [lab]
At the right is a snapshot, circa 1974, taken at a cost savings
award banquet. The company would host a banquet to recognize
people who had submitted cost savings ideas, especially those that
had been implemented.
Shown here is Don Mager shaking Lowell Benson's hand after presenting a gift, a small desktop electonic calculator. These banquets were usually coordinated by a departmental administrator - at the photo's right is Otis Elling 'Odie' who was the engineering administrator. [lab]
VIP Club and LMCO employees have reviewed over 40 boxes of Dockets
and Patent applications to list their information for subsequent searching.
These boxes came from the Iron Mountain repositary, after we
inspected them, they were transferred to the Charles Babbage Institute at the
University of Minnesota. [lab]
Documents/Sperry UNIVAC - Iron Mountain Storage Location of Legacy
Patents, Design Disclosures & Legacy White Papers.pdf. A scanned copy of this paper is available at the Lawshe Memorial Museum, one of 720 documents archived there. [LAB]}
1. Introduction [left]
2.1 Archi Lahti
2.2 Lee Granberg's Patents
2.3 Gary Grundy, et al
2.4 Charles Kiesling.
2.5 Jerry Williams
3.0 Cost Savings Program
4.0 Docket Example Information
Chapter 46 edited 7/13/2025.